登录新浪财经APP 搜索【信披】查看更多考评等级
来源 | 独角金融
作者 |付影
近日,西部利得基金管理有限公司(下称“西部利得基金”)新增一起重大执行案,涉及金额高达2.91亿元,执行法院为上海金融法院。如此之高的被执行金额,此前并没有任何风声,这到底是怎么回事?

图源:天眼查
西部利得基金回应称,该案并非公司自身债务问题,且与股东股权质押无关,此次被执行仅为代旗下专户产品履行相关程序,不会影响公司核心经营。
2015年下半年开始,随着股市行情的下跌,一时间让可交换债券行情爆火,而西部利得基金却在彼时踩雷飞马投资控股有限公司(下称“飞马投资”)先后发行的4期私募可交换债。
后来法院裁定西部利得基金胜诉,不过因被执行人飞马投资与实控人黄壮勉名下无可供执行财产,案件一度被按下暂停键。而此次西部利得基金被执行近3亿,又是否与飞马投资的违约债券有关?
1
西部利得基金被执行2.91亿,系代专户履行程序
西部利得基金被执行2.91亿元,有自媒体报道称该执行金额相当于公司5年净利润。就在市场各方纷纷猜测时,西部利得基金做出了回应,并揭开了这起执行案背后的神秘面纱。
首先,西部利得基金明确了此次被执行的根源,系旗下过往管理的一只专户产品引发的商事纠纷,该产品已经不再运作;
二是公司说明了仲裁结果,该案已经由上海国际仲裁中心出具裁决书,并且该裁决为终局裁决,意味着案件在仲裁层面已经尘埃落定;
三是西部利得基金解释了自身角色,其仅作为管理人代行执行程序,该案西部利得基金的身份是资产管理计划的管理人角色,承担管理人职责,按照规模需承担相应的本金、利息及仲裁费,但实际上是代替资产管理计划成为被执行人,履行法院执行相关的流程和手续;
四是强调了责任边界,西部利得基金并不是偿还这笔债务的主体,即公司无需承担该笔债务,其依据是《资管新规》及相应的《资产管理合同》中“资产管理计划财产独立”的规则,这只专户产品引发的债务,由资产管理计划本身的财产去偿还,西部利得基金不会用公司自身的资金为该产品的债务“埋单”。
这一责任隔离机制的核心依据,来源于《关于规范金融机构资产管理业务的指导意见》(以下简称“《资管新规》”)及相关资管合同中明确规定的“资产管理计划财产独立于资产管理人、资产托管人的固有资产”原则。据此,计划财产所产生的债务,原则上应由该计划财产本身承担。

图源:罐头图库
上海市海华永泰律师事务所高级合伙人孙宇昊律师表示,上海金融法院在以往类似案例中也曾明确,对基金财产采取强制执行措施的审查标准极为严格,若非因基金财产本身所承担的债务,不得对基金财产实施强制执行。
公司还称,目前经营情况正常,财务状况稳健,将持续关注本案进展,并及时履行相应的信息披露义务。至于此次被执行涉及哪只资管计划,西部利得基金并未回应。
有分析人士称,此次涉及被执行的资产管理计划,大概率是债券发行人违约,导致资管计划与交易对手方发生了纠纷,继而交易对手方申请了执行。
2
曾“踩雷”飞马投资债券,违约金额20亿
自2015年下半年开始,随着股市行情的下跌,可交换债券异军突起。西部利得基金也顺势入局,而曾经被视为稳健投资的可交换债券,却成为了投资者们的噩梦,西部利得基金也因此陷入泥潭 。
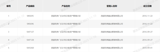
独角金融注意到,西部利得基金作为资产计划管理人,管理的西部利得-飞马分级资管计划,产品数量总共5只,其中3只2016年9月成立,2只同年11月成立,产品均在基金业协会备案,5只产品运作状态均显示为“正常清算”。


图源:基金业协会
2016年9月-11月,飞马投资先后发行了4期私募可交换债券,分别为16飞投01、16飞投02、16飞投03、16飞投E4,发行规模分别为3亿元、5亿元、5亿元、7亿元,合计规模20亿元,票面利率3%,债券期限2年,由飞马投资控股的飞马国际(002210.SZ;*ST飞马)实控人黄壮勉持有的股票质押进行担保。

图源:企业预警通
投资者曾对媒体表示,西部利得-飞马1号分级资管计划,投资于“16飞投01”,西部利得-飞马2号和3号资管计划募集资金投资于“16飞投02”。
然而,2018年,飞马投资陷入流动性危机,“16飞投01”“16飞投02”于当年9月末宣告违约,进而导致飞马资管计划违约。
2018年10月27日,飞马国际曾发布公告,控股股东飞马投资发行的2016年非公开发行可交换公司债券(即“16飞投”)第4期未能如期偿付应付利息及相关回售款项。
至此,“16飞投”共计4期可交换债全部违约。

图源:罐头图库
媒体曾于2020年5月份报道称,西部利得-飞马分级资管计划属于非保本私募基金产品,购买门槛是100万元,合计投资者数量超过500人。
可交换债,是指上市公司股东将所持上市公司的股票,质押给投资者而发行的债券,即可将换债的债务人是上市公司的股东,风控措施是上市公司的股票质押。
屋漏偏逢连夜雨。不仅可交换债违约,2018年,又恰逢飞马国际重组失败,导致股价一时间暴跌。
wind数据显示,飞马国际股价于2018年1月初站上12.35元/股的高峰,到了2018年8月31日,已经跌到6.53元,8个月时间股价下跌将近一半。
飞马投资未能履行兑付义务后,西部利得基金将飞马投资和黄壮勉告上法庭,也让其陷入漫长而艰难的追债之路。
2019年西部利得基金通过深圳国际仲裁院华南国际经济贸易仲裁委员会提起仲裁,申请强制执行飞马投资、黄壮勉2.994亿元及利息,2019年6月20日仲裁院审理该案,仲裁阶段法院裁定拍卖飞马国际3600万股股票用于清偿债务。
虽然西部利得基金胜诉,不过因飞马投资进入预重整、黄壮勉名下无财产可供执行,2020年6月,深圳市中级人民法院中止了此次执行程序,这场追债之旅被按下暂停键。同时,法院还将黄壮勉纳入失信名单,并采取限制高消费及出境措施。

图源:裁判文书网
西部利得基金的“追债”之路并未就此停止。2020年12月裁判文书网披露的(2019)粤03执1944号之二的执行裁定书,西部利得基金要求被告方飞马投资及黄壮勉偿付债权本金7亿元及利息等,这一金额相较之前的申请大幅增加,而该案执行结果与前一桩如出一辙,尽管其在法律程序上取得了胜利,不过实际执行效果依然不佳,追债之路依旧坎坷。

飞马资管计划在发行之时,是以飞马投资拥有的上市公司股份做担保,而实际上当时飞马投资持有的94%以上股份已经质押给别的金融机构了。
《中国经营报》曾在2018年11月报道,根据投资人提供的可交换债券的《募集说明书》,截至2016年8月30日,发行人及飞马投资持有飞马国际股份约4.87亿股,占股本总额的50.06%,其中累计质押数量约为4.58亿股,占其持有飞马国际股份的94.14%,实控人黄壮勉直接持有飞马国际股份约1.83亿股,且全部处于质押状态。
3
资管业务合规运作再敲警钟
西部利得基金成立于2010年7月,总部位于上海,注册资本3.7亿元,是行业内第60家获批的公募基金公司。目前由西部证券控股,持股比例51%,利得科技持股比例49%。

图源:罐头图库
成立后的第14年,西部利得基金管理的基金规模成功突破千亿元大关。截至2024年底,该公司公募管理规模达1128.31亿元,一年增长135亿。2025年本季度末,西部利得基金管理规模继续保持增长,达1136亿元,总资产排名在198家基金公司排名55位。
基金业协会显示,2025年至今(截至11月17日),西部利得基金作为资产计划管理人,管理14只资管计划产品,相较2024年同期减少5只,投资类型均为固定收益类。目前产品运作状态均显示“正在运作”。
基金公司因旗下产品纠纷被执行的案例并非孤例。
2024年5月17日,中国执行信息公开网信息显示,金信基金被广东省深圳市中级人民法院列为被执行人,执行标的约1.16亿元。
金信基金随后回应称,该执行事项的实际对象为旗下的一只资产管理计划产品,而非公司本身。公司强调自身并无自有财产需被执行,仅是代表该资管产品协助法院进行程序。相关信息已于同年5月15日从公开网撤销。
该执行案件为恢复执行案件,涉及金信基金2017年成立的一只单一客户“通道型”资管计划。
从成立时间看,上述产品在2018年《关于规范金融机构资产管理业务的指导意见》规范通道业务之前,属于合规业务。产品已于2020年清算。
但在该资管计划的投资运作过程中,由于所持有的债券发行人违约,导致该资产管理计划与债券回购交易对手之间发生了商事纠纷案件,仲裁庭于2022年底前对债券债券纠纷做出裁决,所有违约责任均由该资产管理计划承担,金信基金不承担任何法律责任。
随着违约债券发行人进入破产重整程序,到了2022年底,由于该资产管理计划暂无可分配财产,法院不得不终结执行程序 。
金信基金表示,恢复执行系因相关债券发行人重整程序近期取得进展,该资管计划获得部分可分配财产。
另以某头部基金公司为例,自2016年以来,曾有6次被列为被执行人,涉案金额4231.46万元,单次涉案金额在56万元至485万元之间不等。
金信基金与西部利得基金被法院列为被执行人,涉及案件几乎相似。
孙宇昊律师分析认为,根据现有信息,本次2.91亿元的执行事件与“飞马分级资管计划”的违约可能有关。2018年飞马国际违约时,该资管计划已到期但未能兑付。
同时,他还注意到,2025年9月,飞马国际通过控股股东新增鼎支付了4.37亿元业绩补偿款,这可能为资管计划债务提供了新的可执行资金来源。他认为,上海金融法院的执行程序很可能是基于飞马国际重整后恢复的偿付能力而重启的。
北山常成基金投研院常务院长王兆江也认为,西部利得基金此次被执行,或与飞马投资发行的“16飞投”系列债券违约相关。
而执行法院为什么是上海金融法院?
独角金融注意到,西部利得-飞马分级资产管理计划因未能偿还投资者本息,投资者屡次将代销方告上法庭。从黑龙江、大连等地中级人民法院披露的裁定书来看,根据投资者购买案涉产品时签署的《资产管理合同》约定,任何因本合同产生或与本协议有关的争议,发生纠纷采取仲裁方式予以解决,仲裁机构则是上海仲裁委员会。
根据西部利得基金回应,本案的原审案件已经由上海国际仲裁中心出具有效的法律裁决书,裁决由本公司管理的资产管理计划承担相应的本金、利息和仲裁费。后来,上海金融法院依据法规对西部利得基金执行了2.91亿元。

孙宇昊称,本次执行由上海金融法院负责,这与西部利得基金注册地(上海)以及上海国际仲裁中心的裁决地相符,是常见的司法管辖衔接。
根据最高人民法院关于上海金融法院案件管辖的规定,上海金融法院管辖上海市辖区内应由中级人民法院受理的金融民商事案件,包括资产管理业务纠纷。西部利得基金作为管理人,其总位上海,符合上海金融法院的管辖范围。
本案的原审案件由上海国际仲裁中心裁决,而上海国际仲裁中心是上海的涉外商事仲裁机构,其裁决的执行通常由上海的中级人民法院管辖。上海金融法院作为专门管辖金融案件的中级法院,自然成为执行机构。
“因此,仅凭现有信息,尚不能排除两件事无关联。西部利得基金从‘飞马计划’的原告变为本次事件的被执行人,是其在不同法律关系中身份不同所致:在‘飞马计划’中,它是作为管理人,代表资管计划向融资方(飞马投资)追偿,是主动发起诉讼的原告。而在本次事件中,根据公司说法,它是作为管理人,代表其管理的另一个资管计划,去履行仲裁裁决确定的义务,因而成为被执行人。”孙宇昊称。
从合规运作的角度来看,这起事件提醒资管计划管理人,需要对投资标的进行全面的风险评估,底层资产质量直接决定产品安全性,债券发行人一旦违约,直接引发后续纠纷和执行,同时,单一标的依赖度高也会放大风险。



发表评论
2025-11-18 02:10:00回复