炒股就看金麒麟分析师研报,权威,专业,及时,全面,助您挖掘潜力主题机会!

  来来自温州鹿城区法院的开庭公告显示,金融街证券作为原告方,以“用人单位责任纠纷”为由,起诉三名自然人。而打了码的当事人,似乎关联到这家券商的“历史遗留问题”。

  新增开庭

  此前,我们曾在《深陷诉讼潮,全年182起理财纠纷为哪般》一文中点评了金融街证券(原恒泰证券)作为被告,卷入多起涉及自然人的委托理财合同纠纷案。

  如今,这家券商却以原告身份,起诉三名自然人,案由竟然是“用人单位责任纠纷”。

从原告到被告,金融街证券为何起诉这三人  第1张

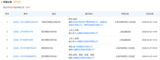
  企查查收录了一则开庭公告显示:浙江省温州市鹿城区人民法院(简称:鹿城区法院)预定于2026年2月10日开庭审理的(2025)浙0302民初20347号案,原告方为“金融街证券股份有限公司”;被告方为三名自然人,陈**、张*和余**。

  要知道,《民法典》有如下规定:用人单位的工作人员在执行工作任务时造成他人损害,用人单位需要对外承担侵权责任。而在用人单位赔偿后,可以向有故意或重大过失的员工进行追偿。

  那么,本次被金融街证券起诉的三名自然人,与这家券商是否有什么关联呢?

  曾经重罚

  通过本案三个打了码的姓名,不禁让人联想到一起旧案。

  2018年,当时还是恒泰证券的金融街证券,出现了“集体”违规大案。机构交易部的张某、陈某杰团队,在时任分管副总经理余某义的放任下,上演了一场以公司名义“借壳”违规的大戏:以恒泰证券某资金项目为幌子,向多个客户许诺配资买卖股票的固定收益。在未告知客户实际用途的情况下,将账户及密码交给第三方用于配资炒股。经查明,35个账户被用于交易“欧浦智网”“大晟文化”等风险股票。

  监管事后认定,这一行为属于“证券公司将客户的资金账户、证券账户提供给他人使用”的违规行为。2020年,证监会重拳出击:对恒泰证券处以100万元罚款;余某杰、陈某义各罚10万元,张某因配合调查从轻发落,罚款3万元。

从原告到被告,金融街证券为何起诉这三人  第2张

  索赔余波

  当然,违规操作对这家券商的影响,远不止于行政处罚。

  据媒体报道,因被挪用的账户涉及大量个人投资者,后续因股票大幅下跌导致亏损,从而引发了密集的索赔诉讼。

从原告到被告,金融街证券为何起诉这三人  第3张

  耐人寻味的是,前述监管函中提及,张某的住址明确为“浙江省温州市鹿城区”。与本次诉讼所在的鹿城区法院一致,这可能是揭开案件真相的关键线索。

  合规缺漏

  伴随着易主更名之后,金融街证券的业绩复苏,连续增长。然而,合规问题可能仍有缺漏。

  就在2025年12月,金融街证券一天之内连收7张罚单,涉及私募基金销售违规、员工“飞单”、向客户输送不正当利益等多项问题,被监管部门责令增加内部合规检查次数并限期整改。而其全资投行子公司恒泰长财证券,也因未勤勉履行债券受托管理职责,导致募集资金被挪用,被监管出具警示函。

  从旧案违规到监管重罚,从投资者索赔到公司追偿,再到近年合规问题频发,金融街证券的系列事件,尚未完全了结。

  对这家积极转型,业绩大增的券商而言,在业绩大增的同时,何时能补齐内控短板,跳出“违规-处罚-纠纷”的循环。

  免责声明:本文仅供信息分享,不构成对任何人的任何投资建议。投资者据此操作,风险自担。