21世纪经济报道记者 孙永乐 上海报道
上一轮“抄作业式老鼠仓”引发重大舆情还是来自公募基金。
近日,安徽证监局、吉林证监局同步披露行政处罚信息,两名券商资深IT工作人员,因违规交易行为受到严厉处罚。
安徽证监局罚单显示,因利用未公开信息交易行为,时任中信证券(600030.SH)信息技术中心高级经理李海鹏被“没一罚一”,合计罚没426.28万元。
另外一则罚单则来自吉林证监局的披露,作为华泰证券时任分管投研系统建设的负责人,因利用未公开信息交易、作为证券从业人员违规买卖股票,邵某被“没一罚三”,合计罚没107.57万元。
具体来看,李海鹏与邵某的内幕交易操作令人咋舌。李海鹏“偷看”私募持仓,被“偷看对象”或指向知名私募基金经理邓晓峰,跟买获利213.14万元;邵某利用职务便利,获取券商自营账户数据,违规炒股14年仍亏损262.61万元。
两宗“老鼠仓”案件的违法细节,暴露出券商内部合规管理的重大漏洞:李海鹏仅凭系统的岗位权限,竟能获取所有客户的交易信息,信息隔离墙制度形同虚设;邵某高频登录系统近千次,此类异常行为却未被及时监测拦截……如此种种,皆为员工内幕交易埋下重大隐患。
机构人士认为,当前,针对证券从业人员“老鼠仓”频现情形,监管正逐步形成顶格处罚的严惩态势、大数据监控趋同交易等科技赋能的严查态势,以及责任倒查机构连带的严揪态势。
偷看私募大佬持仓跟买,盈利超213万元
5月30日,安徽证监局发布行政处罚决定书显示,2018年12月起,时任中信证券信息技术中心高级经理李海鹏,获得中信证券CRM系统应用开发岗权限,可以获取中信证券所有客户的账户信息、资产规模、交易持仓等未公开信息。
2019年11月1日至2023年2月21日,李海鹏通过CRM系统,获知高某基金的持仓、委托、当日成交记录等未公开信息。在获取高某基金的成交记录后,李海鹏开始控制妻子及妻子姊妹的“程某1”账户组,进行趋同交易。
期间,李海鹏控制“程某1”账户组累计交易股票128只,累计交易金额6483.80万元,其中,与高某睿远基金趋同交易股票76只,趋同交易金额2900.38万元,趋同盈利金额213.14万元。
据了解,所谓趋同交易,是指利用未公开信息,在知晓某基金将买入或卖出某些股票的情况下,提前通过其他账户进行同方向的交易,以期获利的行为。这种行为通常会被认定为内幕交易或利用未公开信息交易,属于严重的违法行为。
依据《中华人民共和国证券投资基金法》相关规定,安徽证监局决定,没收李海鹏违法所得213.14万元,并处以213.14万元罚款,即“没一罚一”。
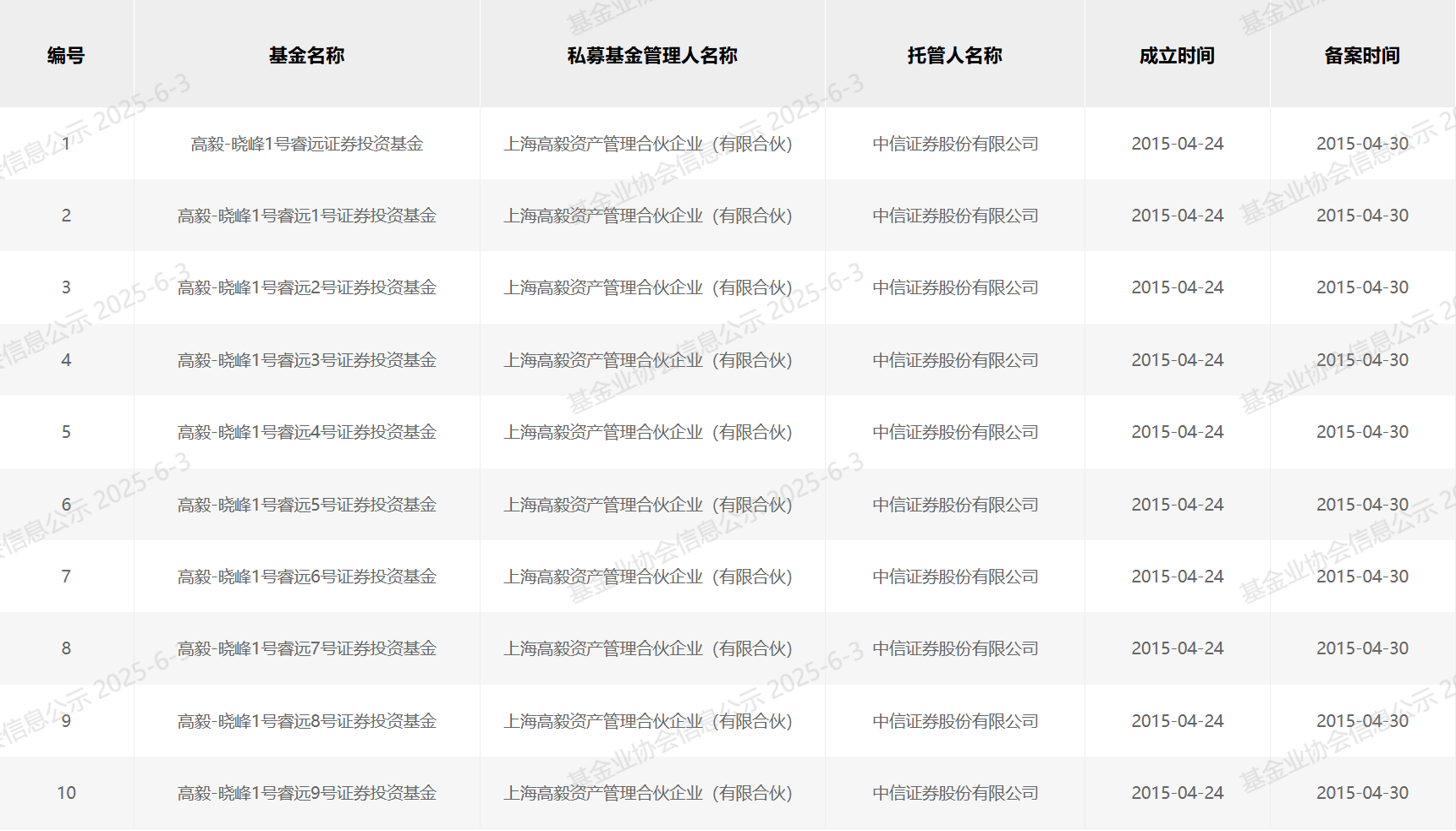
值得注意的是,根据行政处罚决定书,高某基金成立于2015年4月24日,托管人为中信证券,开户营业部为中信证券上海恒丰路证券营业部。
据此,21世纪经济报道记者于中基协官网查询发现,成立于2015年4月24日、名称含“高某睿远基金”字样的基金产品共有10只,托管人恰是中信证券。
私募基金登记备案信息显示,上述10只产品管理人均为上海高毅资产,且均为“高毅-晓峰1号睿远基金”相关产品。可见,李海鹏交易“照搬”的对象,或为知名私募基金经理邓晓峰。

违规炒股14年仍亏损,“抄”自营盘赚近20万元
5月30日,吉林证监局披露行政处罚决定书显示,2008年7月至2024年7月,邵某任职于华泰证券。2023年1月6日至2023年11月10日,作为分管投研系统建设的负责人,邵某因工作需要获得华泰证券X系统的访问权限,通过该系统可以实时获取华泰证券自营账户股票持仓、投资建议书等未公开信息。
期间,邵某利用职务便利,登陆华泰证券OA系统984次,平均每个工作日登陆4.66次(邵某可通过OA系统点击链接进入X系统),获知了华泰证券自营账户持仓股票名称、股票数量等未公开信息。
掌握内幕信息后,邵某控制“杨某”证券账户,实施了精准的“影子交易”。
上述区间内,“杨某”证券账户与华泰证券自营账户趋同交易58只股票,趋同买入金额3153.38万元,趋同买入股票只数占比72.5%,趋同买入金额占比59.06%,趋同盈利19.39万元。
此外,作为证券从业人员,邵某违规炒股长达14年,累计亏损262.61万元。
2010年1月19日至2024年4月8日期间,邵某控制使用“杨某”证券账户持有、买卖股票,扣除利用未公开信息交易股票部分,累计买入金额3.47亿元,卖出金额3.45亿元。
具体处罚而言,吉林证监局对邵某利用未公开信息交易的违法行为,没收违法所得19.39万元,并处以58.18万元罚款,即“没一罚三”;对邵某作为证券从业人员违规买卖股票的违法行为,责令依法处理非法持有的股票,并处以30.00万元罚款。
综合上述两项违法事实,吉林证监局合计对邵某没收违法所得19.39万元,并处以88.18万元罚款。
“老鼠仓”案件频现,券商应筑牢IT岗位“隔离墙”
“老鼠仓”是一种严重的违法犯罪行为,主要是指金融机构从业人员利用因职务便利获取的内幕信息以外的其他未公开信息,违反规定从事相关的证券交易,泄露未公开信息或者明示暗示他人从事相关交易。
5月15日,在2025年“5·15全国投资者保护宣传日”活动上,中国证监会发布的2024年执法情况综述显示,去年严肃查办59起从业人员违法违规案件,开展打击证券从业人员违规炒股专项治理行动,对38名从业人员作出行政处罚。
值得关注的是,在证券从业人员监管方面,此次证监会特别提及两起“老鼠仓”案件:一是对湘财证券高管孙某祥违规买卖股票等违法行为开出同类案件年内最大罚单1800余万元,并采取5年证券市场禁入措施;二是严厉打击15起利用未公开信息交易案件,对某资管公司高级投资经理刘某义“老鼠仓”行为处以近6500万元罚没款。
南开大学金融发展研究院院长田利辉对本报记者指出,证券从业人员“老鼠仓”案件频现,既源于利用未公开信息轻易牟利的利益驱动,也在于违规被发现概率过低导致的合规意识薄弱,更暴露出对从业权限滥用管制不足的制度漏洞。
今年以来,监管明确防范券商自营、资管等投资经理老鼠仓行为,IT相关人员被列为重点核查对象。
4月底,中证协就《证券公司董事、监事、高级管理人员及证券从业人员投资行为管理指引(试行)》在业内征求意见,旨在防范从业人员违规买卖股票、内幕交易等违法违规投资行为。
新规要求,券商要通过加强交易行为监测、关键岗位人员和违规线索核查,内部监督检查、严肃惩戒问责、警示教育宣导等方式,真正做到从业人员投资行为管理“看得清”“管得住”。
另外,新规提到,对于证券自营、资产管理等业务,券商结合自营业务交易持仓、资产管理业务交易持仓等情况进行核查,防范投资经理等从事相关业务人员及其配偶、利害关系人利用未公开信息进行证券交易以谋取或者输送不当利益等违法违规行为。
田利辉表示,防范IT员工内幕交易需要清除监管盲区,防止系统权限的滥用和内部审计的形式化问题。需通过“科技+制度”双重手段,强化对IT岗位的权限管控与交易监控,提升从业人员合规意识,形成“不敢违、不能违”的长效机制。
关于防范的具体措施,田利辉给出了三点建议,一是构建特殊隔离墙,物理隔离IT与交易系统,权限按需审批;二是技术监控,AI实时监测异常操作、数据脱敏处理;三是强化合规举措,完善交易报备制度、双人复核机制和定期交叉核查工作。



发表评论
2025-06-04 01:25:31回复
2025-06-04 06:58:56回复
2025-06-04 07:48:19回复
2025-06-04 09:48:50回复